Porsche vrea să îmbunătățească siguranța decapotabilelor prin introducerea airbagurilor montate în montanții A ale modelelor sale.
În acest scop, constructorul german a patentat un astfel de airbag la United States Patent and Trademark Office.
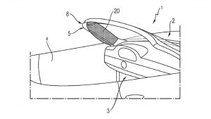
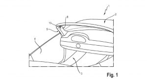
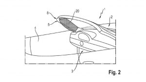
Modelele cu acoperiș retractabil trebuie să se descurce fără airbagurile cortină și astfel riscul de accidentare este mai ridicat, mai ales la impactul lateral sau la accidentul frontal “small overlap” prin care o parte restrânsă a caroseriei suportă forța impactului.
Imaginile ne arată că noile airbaguri se vor prelungi pe toată lungimea montantului, iar Porsche susține că testele făcute până acum ajută pasagerul în caz de airbag frontal și lateral.
Desigur, dacă această tehnologie se dovedește a fi benefică, există o mare posibilitate ca airbagurile în montantul A să fie introduse și pe modelele cu plafon rigid.








